應用現狀
企業應用的流量大小不是每時每刻都一樣,有高峰和低谷,如果每時每刻都要保持可承載高峰流量的機器數目,那么成本會很高。通常解決這個問題的辦法就是根據流量大小或資源占用率自動調節CCE集群中工作負載及節點的數量,也就是彈性伸縮。
在CCE中,由于使用Pod/容器部署應用,容器可使用的資源是在部署時即配置好,不會無限制使用CCE節點中的資源,所以在CCE中彈性伸縮需要先對Pod數量進行伸縮,Pod數量增加后節點資源使用率才會增加,進而根據節點資源使用率再去伸縮集群中節點的數量。
解決方案
CCE中的彈性伸縮主要使用HPA(Horizontal Pod Autoscaling)和CA(Cluster AutoScaling)兩種彈性伸縮策略,HPA負責工作負載彈性伸縮,也就是應用層面的彈性伸縮;CA負責節點彈性伸縮,也就是資源層面的彈性伸縮。
通常情況下,兩者需要配合使用,因為HPA需要集群有足夠的vCPU和內存等資源才能擴容成功,當集群資源不夠時需要CA擴容節點,使得集群有足夠資源;而當HPA縮容后集群會有大量空余資源,這時就需要CA對集群節點進行縮容以釋放資源,才不至于造成浪費。
如下圖所示,HPA根據監控指標進行擴容,當集群資源不夠時,新創建的Pod會處于Pending狀態,CA會檢查所有Pending狀態的Pod,根據用戶配置的擴縮容策略,選擇出一個最合適的節點池,在這個節點池擴容。

CCE同時支持創建CA策略,根據CPU/內存分配率擴容、還可以按照時間定期擴容節點,CA策略可以與autoscaler默認的根據Pod的Pending狀態進行擴容配合使用。
使用HPA+CA可以很容易做到彈性伸縮,且節點和Pod的伸縮過程可以非常方便的觀察到,使用HPA+CA做彈性伸縮能夠滿足大部分業務場景需求。
本實踐將通過一個示例介紹HPA+CA兩種策略配合使用下彈性伸縮的過程,從而幫助您更好的理解和使用CCE中的彈性伸縮。
準備工作
準備一個算力密集型的應用,當用戶請求時,需要先計算出結果后才返回給用戶結果,如下示例,這是一個PHP頁面,代碼將保存在index.php文件中,用戶請求時先循環開方1000000次,然后再返回“OK!”。
編寫Dockerfile制作容器鏡像。
FROM php:5-apache
COPY index.php /var/www/html/index.php
RUN chmod a+rx index.php
執行如下命令構建鏡像,鏡像名稱為busy-php。
docker build -t busy-php:latest .
構建完成后上傳到目標資源池的SWR鏡像倉庫,上傳容器鏡像的步驟請參見“容器鏡像服務 > 客戶端上傳鏡像”。

創建有1個工作節點的CCE集群,工作節點規格2U4G,節點需要帶彈性公網IP,以便訪問公網。
在CCE控制臺“插件管理”中,如未安裝請首先給集群安裝好以下插件:
?autoscaler:CA插件。
?metrics-server:是Kubernetes集群范圍資源使用數據的聚合器,能夠收集包括了Pod、Node、容器、Service等主要Kubernetes核心資源的度量數據。

創建節點池和CA策略
在CCE控制臺中,創建一個節點池,添加一個2U4G的節點,并打開節點池的彈性擴縮容開關,如下圖所示。

修改autoscaler插件配置,將自動縮容開關打開,并配置縮容相關參數,例如節點資源使用率小于50%時進行縮容掃描,啟動縮容。插件規格建議至少選擇“高可用50”,即保證運行不少于2個autoscaler實例。

上面配置的節點池彈性伸縮,會根據Pod的Pending狀態進行擴容,根據節點的資源使用率進行縮容。
CCE同時支持創建CA策略,這里的CA策略可以根據CPU/內存分配率擴容、還可以按照時間定期擴容。CA策略可以與autoscaler默認的根據Pod的Pending狀態進行擴容共同作用。
如下圖所示,在CCE控制臺
彈性伸縮 >
節點伸縮中創建一個“節點伸縮策略”,配置當集群CPU分配率大于70%時,增加一個節點。CA策略需要關聯節點池,可以關聯多個節點池,當需要對節點擴縮容時,在節點池中根據最小浪費規則挑選合適規格的節點擴縮容。

創建工作負載
使用剛構建的busy-php容器鏡像創建無狀態工作負載,副本數為1。vCPU設置為0.5 core、內存設置為200MiB,limits與requests建議取值保持一致,避免擴縮容過程中出現震蕩。

然后再為這個負載創建一個Nodeport類型的Service,以便能從外部訪問。

創建HAP策略
創建HPA策略,如下圖所示,該策略關聯了名為busy-php的工作負載,期望CPU使用率為50%。

另外有兩個配置參數,一個是CPU的閾值范圍,最低30,最高70,表示CPU使用率在30%到70%之間時,不會擴縮容,防止小幅度波動造成影響。另一個是擴縮容冷卻時間窗,表示策略成功觸發后,在縮容/擴容冷卻時間內,不會再次觸發縮容/擴容,以防止短期波動造成影響。
準備壓測環境
在本例中使用linux開源壓測工具wrk模擬外部壓力負載,您也可以使用其它壓測工具進行模擬,確保對集群中的工作負載可形成持續的壓力即可。
為確保壓測效果,建議在節點池外的同一集群工作節點上安裝并運行壓測工具,本例以在linux工作節點上安裝wrk為例:
如未安裝git、gcc,首先安裝:
yum install git -y
yum install gcc -y
下載wrk工具:
git clone //github.com/wg/wrk.git
進入wrk目錄,編譯:
cd wrk && make
完成編譯后,可將wrk可執行文件軟連接至/usr/local/bin等目錄下,方便后續使用。
首先通過如下命令測試工作負載是否正常,正常結果應為返回“OK!”。
curl //192.168.0.149:31504
其中的{ip:port}為busy-php工作負載的訪問地址和端口,可在負載詳情頁中獲取:

驗證wrk工具并查看結果是否正常:
wrk -t2 -c10 -d3s //192.168.0.149:31504/
wrk的詳細使用方法和參數說明,請參考官方介紹://github.com/wg/wrk。
觀察彈性伸縮過程
首先查看CCE集群中剛才新建的節點池情況,初始狀態節點池中有1個節點。
說明
本實踐中的壓測、工作負載和節點等相關指標值僅為參考示例。
查看HPA策略,因為之前已進行過連通性測試,可以看到目標負載busy-php的指標(CPU使用率)為16%

通過如下命令開始打壓,其中{ip:port}為負載的訪問地址,可以在busy-php負載的詳情頁中查詢。
wrk -t10 -c1000 -d1200s //192.168.0.149:31504/
說明
上述壓測命令中的并發數、連接數、持續時間僅為示例,請根據節點規格等參數進行合理的設置。
觀察工作負載的伸縮過程。

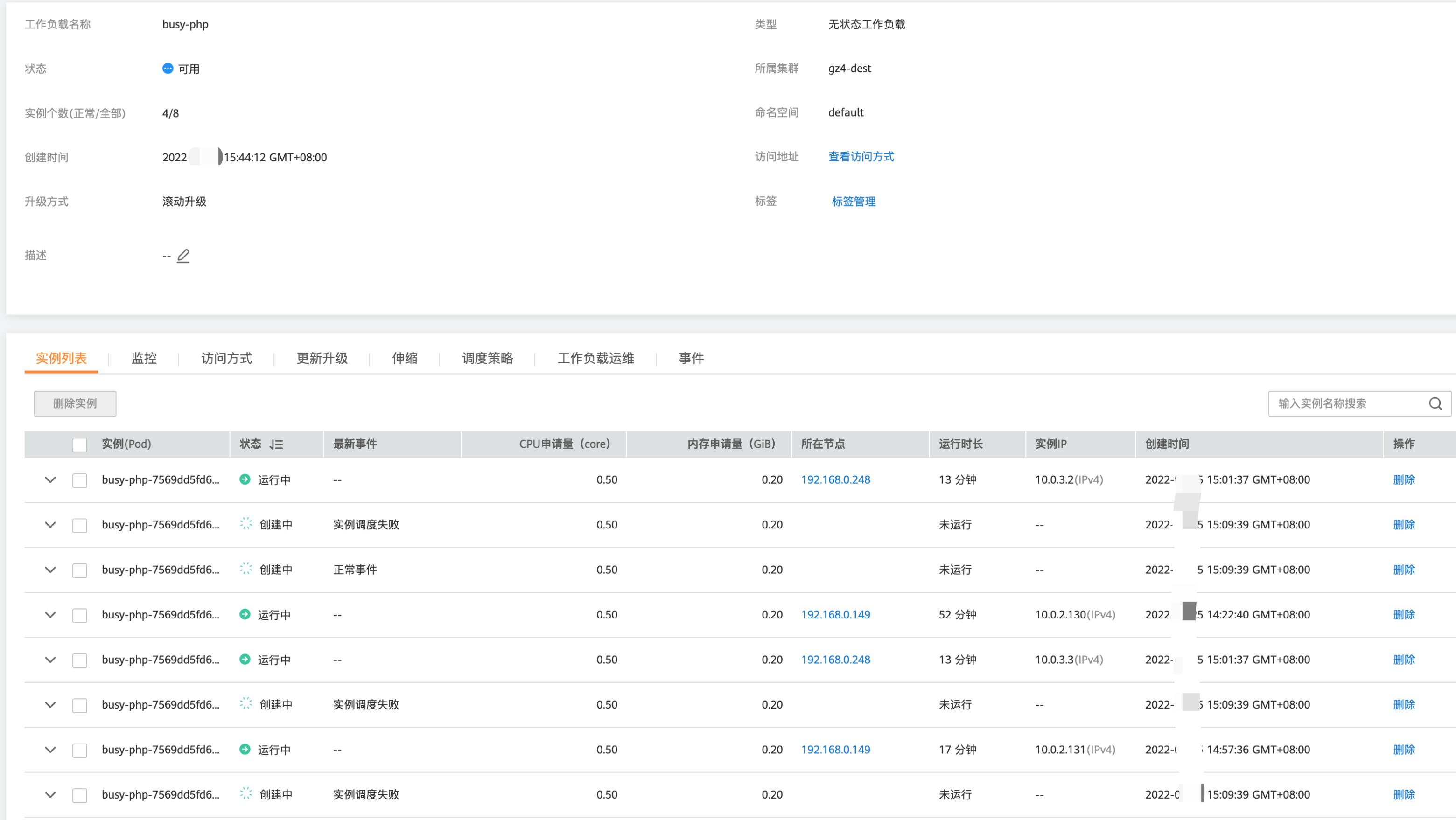
可以看到第二行開始負載的CPU使用率達到99%,超過了目標值,此時觸發了工作負載的彈性伸縮,將負載擴容為2個副本/Pod,隨后的幾分鐘內,CPU使用并未下降,這是因為雖然工作負載進行了擴容,但新創建的Pod并不一定創建成功,一般是因為資源不足Pod處于Pending狀態,此時需同步進行節點擴容。
如下圖所示,工作負載的副本數已通過動態擴容達到8,但因為沒有充足的vCPU和內存資源,會被k8s集群標記為“實例調度失敗”。

之后工作負載CPU使用率一直保持在99%以上,工作負載持續進行擴容,副本數從2個擴容到4個,再擴容到8個最后擴容至12個。觀察負載和HPA策略的詳情,從事件中可以看到負載的擴容的過程和策略生效的時間線,如下所示。

與此同時,查看節點池中的節點數量,發現在剛才工作負載擴容的同時,節點數量也擴容了。在CCE控制臺中可以看到伸縮歷史,節點數量會根據CA及autoscaler策略,通過判斷Pod的Pending狀態進行擴容。

另外還可以看到CA策略也執行了一次,當集群中CPU分配率大于70%,將節點池中節點數量從2擴容到了3。

本例中節點擴容機制具體是這樣:
?Pod數量變為4后,由于沒有資源,Pod處于Pending狀態,觸發了autoscaler默認的擴容策略,將節點數量進行增加。
?同時因為集群中CPU分配率大于70%,觸發了CA策略,從而將節點數增加一個,從控制臺上伸縮歷史可以看出來。根據分配率擴容,可以保證集群一直處于資源充足的狀態。
本例中啟動壓測時設置了壓力持續時間,因此當壓測工具停止打壓后,觀察負載Pod數量。CPU負載快速下降,工作負載開始縮容,工作負載副本數也快速由12縮容至2個,最后恢復到1個副本。
觀察負載和HPA策略的詳情,從事件中可以看到負載的縮容過程和策略生效的時間線,在控制臺中同樣可以看到HPA策略生效歷史。

再繼續觀察,會看到節點池中的節點數量會被不斷縮容。

最終,節點池節點數量將穩定在2。

這里節點沒有繼續被縮容,是因為節點池中這兩個節點都存在namespace為kube-system的Pod(且不是DaemonSets創建的Pod)。關于節點在什么情況下不會被縮容請參考CCE幫助中心
彈性伸縮 > 集群/節點彈性伸縮 > 節點伸縮原理。
如需繼續縮容,可編輯節點池,手動減少其節點數量。
總結
通過上述的實踐可以看到,使用CCE的HPA+CA機制,可以很容易做到工作負載及節點的彈性伸縮,且節點和Pod的伸縮過程可以非常方便的觀察到,使用HPA+CA做彈性伸縮能夠滿足大部分業務場景需求。