查看告警事件歷史
更新時間 2023-12-04 17:15:21
最近更新時間: 2023-12-04 17:15:21
分享文章
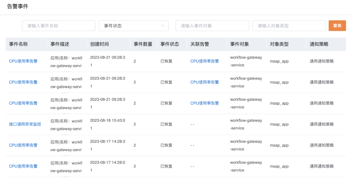
展示當前租戶下所有告警事件歷史,支持篩選及查看詳情。
功能入口
- 選擇目標資源池,并登錄APM組件控制臺。
- 在左側導航欄中選擇「 告警管理 」-「 告警事件歷史 」。
功能說明

展示當前租戶下所有告警事件信息。
支持對事件名稱、事件狀態、事件對象和對象類型進行篩選
- 事件名稱 :顯示告警規則名稱。
- 事件狀態 :顯示事件當前狀態是告警中、已恢復、靜默。
- 事件對象 :監控對象,比如應用名稱、集群名稱等。
- 對象類型 :告警事件對象的類型。
支持查看事件詳情

支持查看告警詳情
- 詳情 :顯示告警發送的基礎信息如告警對象、處理人、解決方案。

- 事件 :顯示觸發告警的事件名稱、狀態和觸發時間,點擊可查看詳情。

- 活動 :顯示包括認領、取消認領、指派處理人、告警關閉等在內的各種活動信息,支持篩選。
