基線合規
更新時間 2023-12-22 11:01:42
最近更新時間: 2023-12-22 11:01:42
分享文章
基線核查主要是針對主機的操作系統、數據庫、虛擬化設備、軟件基礎、應用程序的配置合規性進行檢查,并提供檢測結果說明和加固建議。
功能說明
基線檢查功能進行系統安全加固,降低入侵風險并滿足安全合規要求。

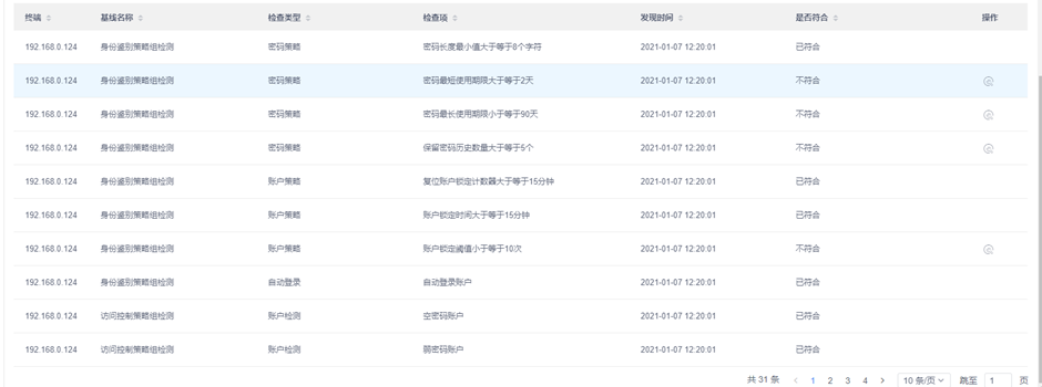
展示基線漏洞詳細信息以及漏洞發生IP地址。

記錄基線合規相關風險信息,其中包括終端IP地址、基線名稱、基線檢查類型、發現時間及是否修改符合。
