告警列表
更新時間 2024-10-22 13:54:31
最近更新時間: 2024-10-22 13:54:31
分享文章
本小節介紹服務器安全衛士告警列表的操作步驟。
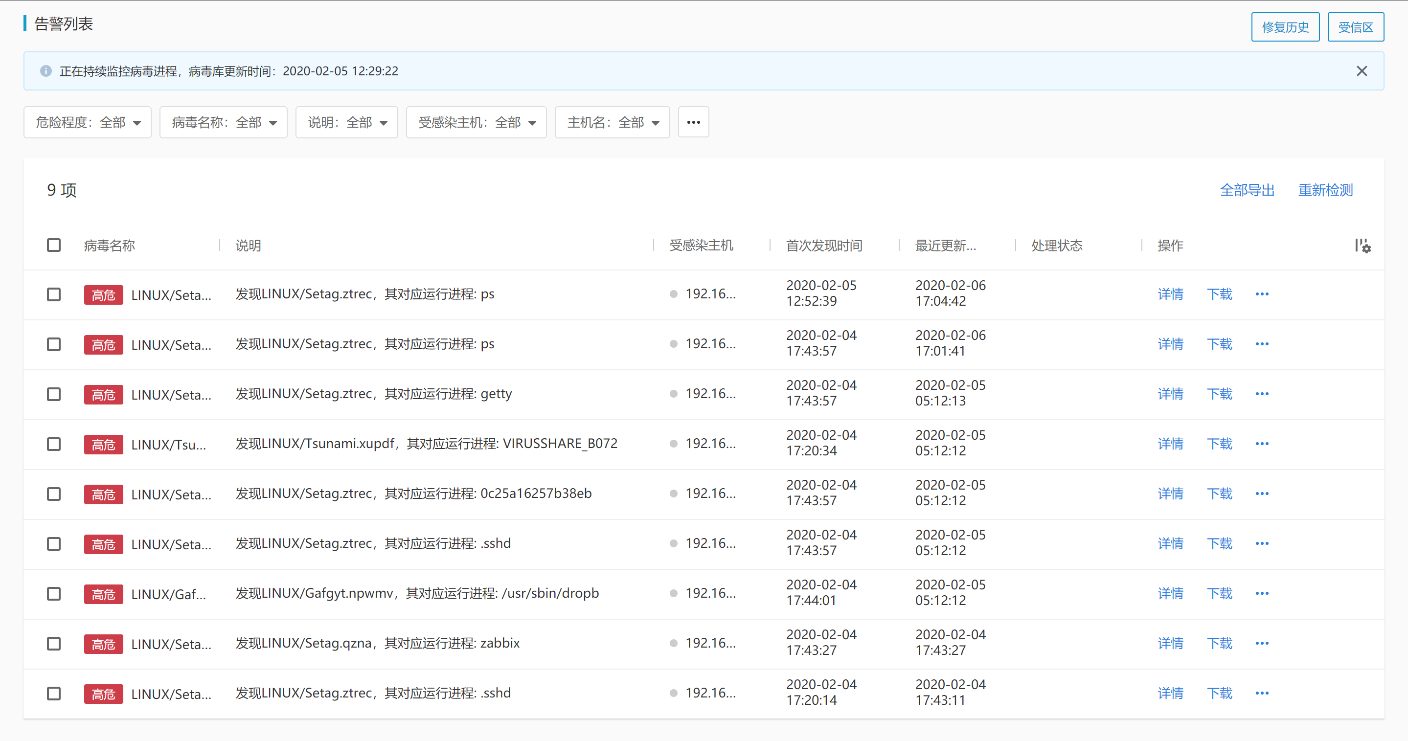
告警列表提供對上報告警的病毒事件的查看、分析和處理能力。

具體操作
查看病毒詳情
提供對病毒詳細信息的查看,包含病毒引擎分析后的檢測說明、病毒文件的靜態信息以及病毒進程的進程相關信息。

下載病毒文件
提供對病毒的下載,用戶可對想進一步分析的病毒進行下載,病毒文件已上傳服務端,故主機上無論是否仍存在該病毒,都可以進行下載,下載的文件為病毒的真實文件,請注意在安全的環境下進行下載。
處理病毒
對病毒提供各項處理能力,處理操作皆支持批量,包含:
1)支持對病毒進行進程阻斷、文件隔離和文件刪除,其中隔離和刪除成功后的病毒認為已修復,已修復事件將移出告警列表,可在告警列表的修復歷史功能中進行查看;
2)確認為非病毒時可將該事件加入受信任區,加入受信任區后,相同的病毒在該主機上將不再進行告警,可在受信區中查看該事件記錄;
3)修復后可將病毒事件標記為已修復,標記為已修復的事件同樣將移出告警列表,可在告警列表的修復歷史功能中進行查看,其操作人為當時手動操作的賬號名。

重新檢測病毒
點擊重新檢測,將對主機上運行的病毒進程進行全部掃描,并同時驗證主機上已被修復的病毒事件。重新檢測可選擇主機的范圍,可選擇三種范圍:全部主機、業務組和自定義主機。

導出病毒信息
支持對病毒信息進行導出,點擊界面的“全部導出”按鈕和勾選記錄后點擊“導出”操作都可導出當前已選范圍的數據。
1)修復歷史
查看所有已被記錄為修復的病毒事件,修復歷史同樣支持導出和查看詳情。

2)受信區
查看所有已被受信任的病毒事件,受信任的事件支持刪除。
